• American Truck Simulator
  • Euro Truck Simulator 2
  • Cities: Skylines
  • Cities: Skylines 2
  • Die Sims 4
MotekGames.de
  • Home
  • News
    • Games News
    • Hardware News
    • Software News
    • eSport News
    • Film & Serien News
    • Klemmbaustein News
    • Gesellschaftsspiele News
    • Event News
    • Business News
    • Preis Motek
  • Artikel
  • Reviews
    • Game Reviews
    • Hardware Reviews
    • Film/Serien Kritiken
    • Klemmbaustein Reviews
  • Events
  • Specials
    • Gewinnspiel
    • Interviews
    • Social-Links
No Result
View All Result
  • Home
  • News
    • Games News
    • Hardware News
    • Software News
    • eSport News
    • Film & Serien News
    • Klemmbaustein News
    • Gesellschaftsspiele News
    • Event News
    • Business News
    • Preis Motek
  • Artikel
  • Reviews
    • Game Reviews
    • Hardware Reviews
    • Film/Serien Kritiken
    • Klemmbaustein Reviews
  • Events
  • Specials
    • Gewinnspiel
    • Interviews
    • Social-Links
No Result
View All Result
No Result
View All Result
MotekGames.de
Home News Games
PlayStation – Sony arbeitet an neuem Live-Service-Multiplayer-Spiel

Ghost-Player-Patent – Sony patentiert KI-System, das PlayStation-Spiele automatisch spielen kann

by Paul Motek
6. Januar 2026
in Games, News

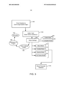
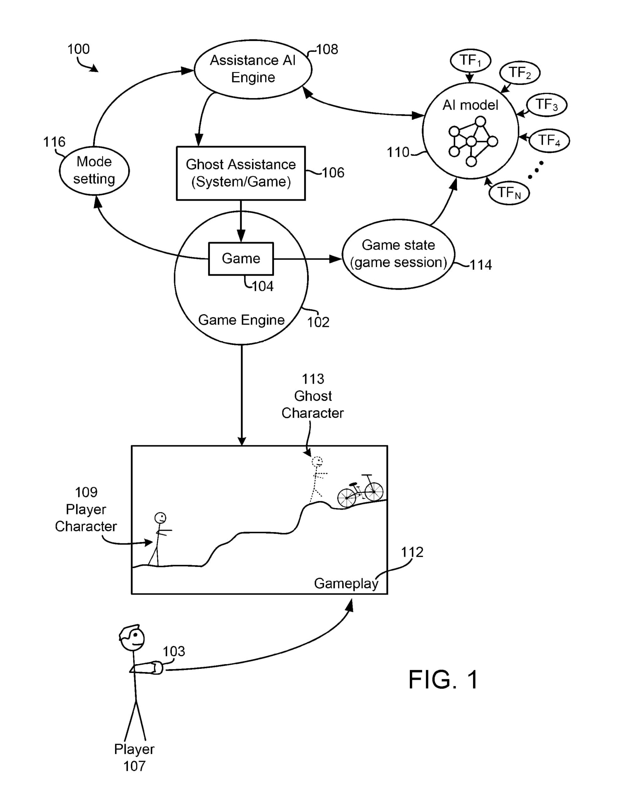
Sony hat ein Patent für eine neue KI-gestützte Technik angemeldet, mit der Spiele auf der PlayStation 5 teilweise oder vollständig automatisch gespielt werden könnten. Das System trägt den Namen „Ghost Player“ und soll Spielern helfen, wenn sie in einem Spiel nicht weiterkommen.

Laut den Patentunterlagen kann ein KI-gesteuerter „Geist“ des eigenen Charakters aktiviert werden. Dieser übernimmt dann entweder die Demonstration einer Lösung oder spielt einen Abschnitt komplett durch. Der Spieler kann dabei wählen, ob er sich nur zeigen lässt, wie eine Aufgabe gelöst wird, oder ob die KI den Abschnitt direkt abschließt.

Das Patent wurde ursprünglich im September 2024 eingereicht. In dieser Woche veröffentlichte die Weltorganisation für geistiges Eigentum einen internationalen Statusbericht zu dem Antrag. Damit wurde die Technik erstmals öffentlich dokumentiert.

Als Beispiel beschreibt Sony ein Szenario aus einem Spiel wie Uncharted. Wenn ein Spieler bei einem Rätsel feststeckt, könnte ein KI-gesteuerter Charakter im sogenannten „Guide Mode“ die Lösung vorführen. Im „Complete Mode“ würde der Abschnitt ohne weiteres Zutun des Spielers beendet.

Das System soll nicht auf vorab aufgezeichneten Entwickler-Eingaben basieren. Stattdessen wird die KI laut Patent mit vorhandenem Gameplay-Material trainiert. So soll sie Spielsituationen selbstständig analysieren und lösen können.

Der Ansatz erinnert an das bestehende PS5-Feature „Game Help“. Dieses wurde zum Start der Konsole eingeführt und kann bei unterstützten Spielen Hinweise in Form von Texten, Bildern oder Videos direkt im Spiel anzeigen. Besonders Spieler, die gezielt Trophäen sammeln, nutzen diese Funktion, da sie ohne externe Guides auskommt.

Ob Sony den „Ghost Player“ tatsächlich in zukünftigen Spielen oder Konsolen einsetzen wird, ist offen. Das Unternehmen weist nicht darauf hin, dass eine konkrete Umsetzung geplant ist. Patente dieser Art werden regelmäßig angemeldet, ohne später in Produkte integriert zu werden.

KI-gestützte Assistenzsysteme halten zunehmend Einzug in den Gaming-Bereich. Auch Microsoft arbeitet mit „Copilot for Gaming“ an einer vergleichbaren Lösung. Diese soll Spielern unter anderem Hilfestellung bei Spielen geben oder Aufgaben wie Installation und Wiedereinstieg übernehmen.

Tags: SonySony Interactive Entertainment (SIE)
Previous Post

NVIDIA – Keine Ankündigungen neuer Grafikkarten zur CES 2026

Next Post

Warhorse Studios – Neben Kingdom Come 3 soll ein weiteres Projekt in Arbeit sein

Paul Motek

Paul Motek

Motek ist Chefredakteur und Gründer dieses Online-Gaming Magazin. 2013 gründete er im Rahmen seiner Ausbildung das Gaming TV & Online Magazin G-activity, das heutige MotekGames und MotekTV. Motek ist Leidenschaftlicher Gamer, zockt gerne Sport und Simulationsspiele und ist begeisterter Fußball & Motorsport-Fan.

MotekGames ist ein deutsches Online Gaming Magazin für News und Reviews. Seit dem Jahr 2013 veröffentlicht die Redaktion aktuelle News & Tests, über PC-, Videospiele, eSport, Hardware, Klemmbausteine & Boardgames. Auch ist die Redaktion auf verschiedenen Events der Branche vertreten, wie zum Beispiel der gamescom, devcom, DEP, DCP, IFA, VBL oder IEM. Auch werden unsere News zweimal pro Woche als Podcast (bei iTunes, Amazon, Spotify, Deezer und Google) veröffentlicht und monatlich als TV-Format auf dem TV-Sender NRWision.

Die hier veröffentlichten Beiträge, Artikel, Videos & Tests sind keine bezahlte Werbung. Bei allen Links zu unseren Partnern (zB. Amazon) handelt es sich um Affiliate-Links. Wir erhalten für jeden darüber erfolgten Kauf eine kleine Provision – ohne, dass ihr einen Cent mehr bezahlen müsst.

Zur Steigerung von Qualität und Effizienz unserer Beiträge setzen wir auf KI-Tools: Diese dienen uns nur als Hilfsmittel bei der Recherche, Textkorrektur und Grafikerstellung. Wichtig für uns bleibt jedoch, menschliche Expertise bleibt die Grundlage unserer Inhalte.

  • Impressum
  • Datenschutz
  • Karriere
  • Teilnahmebedingungen

Copyright © 2013 - 2025 Motek Production. All rights reserved.

Welcome Back!

Login to your account below

Forgotten Password?

Retrieve your password

Please enter your username or email address to reset your password.

Log In
No Result
View All Result
  • Home
  • News
    • Games News
    • Hardware News
    • Software News
    • eSport News
    • Film & Serien News
    • Klemmbaustein News
    • Gesellschaftsspiele News
    • Event News
    • Business News
    • Preis Motek
  • Artikel
  • Reviews
    • Game Reviews
    • Hardware Reviews
    • Film/Serien Kritiken
    • Klemmbaustein Reviews
  • Events
  • Specials
    • Gewinnspiel
    • Interviews
    • Social-Links

Copyright © 2013 - 2025 Motek Production. All rights reserved.

Diese Webseite nutzt Cookies. Mh, lecker Kekse. Mit der Nutzung unserer Webseite erklärst du dich damit einverstanden, dass wir Cookies nutzen dürfen. Mehr